铁壳后倾式圆形管道糖心VLOG官方视频
1.产品简介
CDF系列铁壳后倾式圆形管道糖心VLOG官方视频是先进冷拉成型技术与空气动力学结合的新型直通离心式管道风机。进风口和出风口尺寸相同,可直接与圆形螺旋风管(或PVC管)连接,能够极大地节省管道安装费用。该系列产品的叶轮由多个后倾圆弧形铝合金叶片、前盘、后盘等部分组成,均用钢板制造,并经静、动平衡校正,空气运行良好,效率高,运转平稳可靠。该系列管道风机按照出风口直径共分为7个型号,依次排列为100mm,125mm,150mm,160mm,200mm,250mm,315mm。可以安装在管道的任意位置,也适合不同角度的安装,简单方便。糖心官方平台的产品设计工艺先进,结构紧凑,风道流畅,整机无需喷涂处理,使用更环保,可以用于输送空气或其他不自然、不自爆、无缠绕性、对人体无害、对钢铁材料无腐蚀的气体。是宾馆、饭店、礼堂、影剧院、地下室、厂矿企业等场所建筑楼宇和厨房卫生间的通风换气的理想产品,是高层建筑用消防排烟风机的更新换代产品,现已畅销全国各地,深受用户好评。
铁壳后倾式圆形管道糖心VLOG官方视频按出风口的直径共分为7种机号,依次排列为100mm、125mm、150mm、160mm、200mm、250mm、315mm。下文中是这些铁壳后倾式圆形管道糖心VLOG官方视频的尺寸(精确到毫米)、电压、频率、输入功率、电流、转速、电容等参数。
糖心官方平台圆形管道糖心VLOG官方视频的分类、结构特点、行业用途、工作条件、设计说明、型号说明、产品认证等信息详见:圆形管道糖心VLOG官方视频CDF系列产品概述。
2. 技术参数
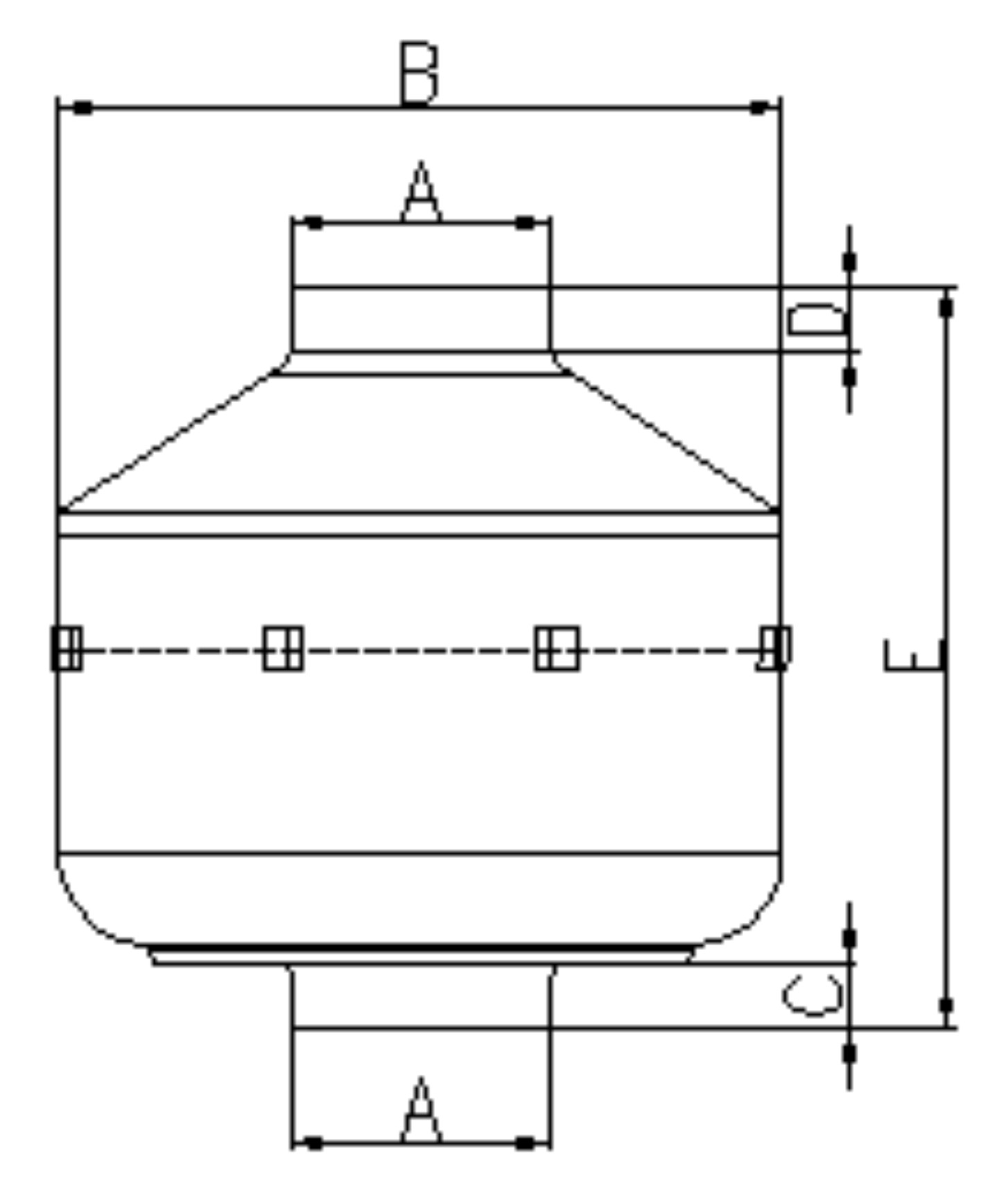
| 型号 | A (mm) | B (mm) | C (mm) | D (mm) | E (mm) |
| CDF2E100 | 97 | 240 | 20 | 20 | 200 |
| CDF2E125 | 121 | 236 | 24 | 24 | 206 |
| CDF2E150 | 147 | 280 | 25 | 22 | 206 |
| CDF2E160 | 157 | 280 | 27 | 30 | 213 |
| CDF2E200 | 197 | 335 | 28 | 25 | 240 |
| CDF2E250 | 246 | 335 | 30 | 25 | 220 |
| CDF2E315 | 313 | 402 | 25 | 30 | 255 |
| 型号 | 额定电压 | 频率 | 输入功率 | 额定电流 | 转速 | 电容 |
| CDF2E100 | 230 | 50/60 | 73/80 | 0.33/0.35 | 2300/2500 | 2 |
| CDF2E125 | 230 | 50/60 | 70/85 | 0.29/0.32 | 2300/2500 | 2 |
| CDF2E150 | 230 | 50/60 | 100/125 | 0.41/0.52 | 2300/2500 | 3 |
| CDF2E160 | 230 | 50/60 | 110/130 | 0.41/0.54 | 2300/2500 | 3 |
| CDF2E200 | 230 | 50/60 | 150/200 | 0.5/0.68 | 2350/2600 | 5 |
| CDF2E250 | 230 | 50/60 | 165/215 | 0.65/0.73 | 2350/2600 | 5 |
| CDF2E315 | 230 | 50/60 | 200/250 | 0.88/1.1 | 2300/2400 | 6 |
| 型号 | 额定电压 | 频率 | 输入功率 | 额定电流 | 转速 | 电容 |
| CDF2E100 | 115 | 60 | 77 | 0.63 | 2550 | 8 |
| CDF2E125 | 115 | 60 | 85 | 0.7 | 2550 | 8 |
| CDF2E150 | 115 | 60 | 125 | 0.98 | 2550 | 12 |
| CDF2E160 | 115 | 60 | 130 | 1 | 2500 | 12 |
| CDF2E200 | 115 | 60 | 200 | 1.78 | 2400 | 16 |
| CDF2E250 | 115 | 60 | 215 | 1.8 | 2400 | 16 |
| CDF2E315 | 115 | 60 | 250 | 2 | 2450 | 20 |
3.外形尺寸图

4.风量曲线图
说明:(红线为60Hz曲线,黑线为50Hz曲线)

铁壳后倾式圆形管道糖心VLOG官方视频100mm风量风压曲线图

铁壳后倾式圆形管道糖心VLOG官方视频125mm风量风压曲线图

铁壳后倾式圆形管道糖心VLOG官方视频150mm风量风压曲线图

铁壳后倾式圆形管道糖心VLOG官方视频160mm风量风压曲线图

铁壳后倾式圆形管道糖心VLOG官方视频250mm风量风压曲线图

铁壳后倾式圆形管道糖心VLOG官方视频315mm风量风压曲线图

铁壳后倾式圆形管道糖心VLOG官方视频200mm风量风压曲线图
下一页:贯流风机LB30







